特长
稳定的排气特性
低噪音
装有气镇阀
通过打开气镇阀,可以将一定量的水蒸气从排气口排出,并能净化油箱内的真空泵油。
维护保养方便
结构简单,零部件数量少,复原性好,便于保养及检修,另外大油量型真空泵设有底部放油口和专门加油口,便于定期换油。
大油量型
采用大油箱后,能降低泵的测量,减少油的氧化和劣化,延长油的使用寿命。另外,对一般的真空装置来说,能降低吸入泵中的蒸气及粉尘所引起的油污的程度,从而减少油更换的频率,降低使用成本。
用途
中央空调、照明、制冷
冷媒灌注机、液晶注入机
真空冷冻干燥、真空包装
各种真空设备等相关行业
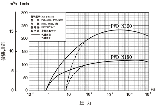
*1. 用皮拉尼真空计测得的值,如用麦氏真空计测量则约为 6.7×10-2Pa 。
*2. G.V:气镇阀的缩写。
| 机 型 | PVD-N180 | PVD-N180-1 | PVD-N360 | PVD-N360-1 | |
| 项 目 | |||||
| 几何抽速 L/min | 50Hz | 155 | 310 | ||
| 60Hz | 186 | 372 | |||
| 极限压力*1 Pa | G.V 关*2 | 6.7×10-1 | |||
| G.V 开*2 | 6.7 | ||||
| 电 机 | kW(极) | 0.4 (4) | 0.75 (4) | ||
| Hz-V | 50-380/400/415、60-400/440/460 | ||||
| 转 速 r/min | 50Hz | 500 | |||
| 60Hz | 600 | ||||
| 使 用 油 | ULVOIL® R-7 | ||||
| 所需油量 L | 0.3 | 1.5 | 0.5 | 1.7 | |
| **处理水量 g/h | 100 | ||||
| 重 量 kg | 44.5 | 50.5 | 54 | 62.5 | |